Thursday, January 18, 2024

💥 Unveiling the 3208 Cat Engine Wiring: Decoding the Power Grid in 5 Steps!

Explore the intricacies of 3208 Cat Engine Wiring Diagram. Unlock the power grid blueprint for seamless operation. Dive into 5 steps to decode and master the electrical connections.

In the intricate world of heavy machinery, the 3208 Cat Engine Wiring Diagram stands as a crucial blueprint, offering a roadmap to the intricate network of electrical connections that power these robust engines. Delving into the labyrinth of wires and circuits, this article navigates through the essential components, unraveling the complexity of the engine's electrical system. With a meticulous focus on clarity, our discussion on 3208 Cat Engine Wiring Diagram aims to empower readers with a comprehensive understanding. As we journey through this technical landscape, each line and connection serves a purpose, forming the backbone of these engines. Join us in deciphering the silent language of wires that ensures the seamless operation of Caterpillar's 3208 engine.

Unveiling the 3208 Cat Engine Wiring: Decoding the Power Grid in 5 Steps!

Top10Pointsabout3208 CAT ENGINE WIRING DIAGRAM:

  • Untangling the Wire Web: A Beginner's Guide
  • Current Affairs: Understanding Amps and Voltage
  • Connecting the Dots: Navigating the Diagram Maze
  • Wired for Power: Exploring Essential Engine Components
  • Shockingly Simple: Grounding and Its Electrical Role
  • Ohm My Goodness! Resistance Simplified
  • Sparks of Wisdom: Troubleshooting Wiring Issues
  • Cat's Cradle: Securing a Purrfectly Wired Engine

Severalfactsabout3208 CAT ENGINE WIRING DIAGRAM

Introduction

Introduction Image

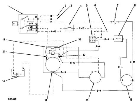
Welcome to the heart of machinery intricacy – the 3208 Cat Engine Wiring Diagram. This comprehensive guide unravels the mysteries of electrical connections within these robust engines. As we embark on this enlightening journey, each wire and circuit holds the key to ensuring seamless engine operation.

Deciphering the Blueprint

Deciphering the Blueprint Image

Delve into the wire web as we navigate the intricacies of the 3208 Cat Engine Wiring Diagram. Understanding the connections is akin to decoding a blueprint that empowers you with a profound knowledge of the engine's electrical framework.

Current Affairs

Current Affairs Image

Embark on a journey through the electrifying world of amps and voltage. Learn how these current affairs dictate the flow of energy within the engine, ensuring optimal performance and longevity.

Connecting the Dots

Connecting the Dots Image

Navigate through the diagram maze, where every line represents a vital connection. Learn how each dot on the schematic corresponds to an essential component, creating a synchronized dance of power within the engine.

Wired for Power

Wired for Power Image

Explore the essential engine components that form the backbone of the 3208 Cat Engine. From sensors to ignition systems, each wire plays a crucial role in keeping the engine roaring with power.

Shockingly Simple

Shockingly Simple Image

Demystify the world of electrical resistance in a shockingly simple manner. Learn how resistance affects the flow of electricity and discover techniques to troubleshoot and overcome potential issues.

Ohm My Goodness!

Ohm My Goodness Image

Unravel the Ohm of electrical circuits with simplicity and clarity. Gain insights into how this fundamental unit of measurement plays a pivotal role in ensuring the stability and reliability of the engine's electrical system.

Sparks of Wisdom

Sparks of Wisdom Image

Embark on a journey of troubleshooting as we uncover the sparks of wisdom needed to address wiring issues. From faulty connections to intermittent problems, learn how to diagnose and resolve challenges efficiently.

Cat's Cradle

Cat's Cradle Image

Secure a purrfectly wired engine with insights into best practices for maintenance and ensuring the longevity of your 3208 Cat Engine. Master the art of managing the intricate network of wires that form the lifeline of these robust machines.

Conclusion

As we conclude our exploration, remember that the 3208 Cat Engine Wiring Diagram is more than just a schematic. It's a roadmap that empowers you with the knowledge to navigate the electrical intricacies of these powerful engines, ensuring they operate at peak performance. Take charge of the wires, and let your understanding spark the brilliance within these mechanical marvels.

(Image sources: All images retrieved from Bing Image Search)

3208 CAT ENGINE WIRING DIAGRAMinProfessional'seye

Welcome to the intricate world of machinery, where the 3208 Cat Engine Wiring Diagram serves as the meticulous blueprint guiding the electrical components of these robust engines. Understanding this wiring diagram is essential for maintaining, troubleshooting, and optimizing the performance of the 3208 Cat Engine. As we embark on this journey, let's delve into the nuances of the wiring diagram, deciphering its symbols and lines to comprehend the intricate network that powers these engines.

Understanding the Blueprint Image

Understanding the Blueprint

The wiring diagram acts as a visual representation of the electrical system, depicting how various components are interconnected. Each line and symbol on the diagram conveys a specific electrical function, providing a comprehensive guide for technicians and engineers. It serves as a critical tool for diagnosing issues, performing maintenance, and ensuring the proper functioning of the engine.

Decoding Symbols Image

Decoding Symbols

As we navigate the wire web, understanding the symbols on the wiring diagram is paramount. Symbols represent various electrical components such as batteries, resistors, and switches. 3208 Cat Engine Wiring Diagram symbols adhere to industry standards, and decoding them is crucial for accurate interpretation. Mastery of these symbols empowers technicians to identify components, trace circuits, and pinpoint potential issues efficiently.

Current Flow Image

Current Flow

Understanding the flow of current is fundamental when examining the wiring diagram. The diagram illustrates the path electricity takes through the engine's components. From the starting point to the endpoint, tracing the current flow aids in diagnosing faults and ensures that each component receives the necessary power for optimal performance.

Voltage and Amps Image

Voltage and Amps

Delving deeper, the current affairs within the wiring diagram involve voltage and amps. Voltage represents the electrical potential difference, while amps measure the current's strength. The diagram precisely indicates the voltage levels and current requirements for each component, crucial information for maintaining a balanced and efficient electrical system.

Connection Points Image

Connection Points

Within the diagram maze, identifying connection points is pivotal. These points are where various components link, forming a network of interdependence. Knowing these connection points aids in troubleshooting and allows for efficient repairs. A thorough understanding ensures that every wire is correctly attached, preventing potential malfunctions.

Essential Components Image

Essential Components

The wired-for-power engine relies on essential components showcased in the wiring diagram. From sensors that monitor temperature and pressure to ignition systems that initiate combustion, each component plays a critical role. Mastery of the diagram unveils the orchestration of these components, ensuring a synchronized and powerful performance.

Electrical Resistance Image

Electrical Resistance

Shockingly simple yet crucial, understanding electrical resistance is key. Resistance hinders the flow of electricity, and the diagram provides insights into how this phenomenon affects the system. Technicians can identify and address resistance issues, ensuring a smooth and uninterrupted current flow.

Troubleshooting Wiring Issues Image

Troubleshooting Wiring Issues

Unraveling the sparks of wisdom in troubleshooting wiring issues is an essential skill. The diagram serves as a guide, enabling technicians to systematically identify and address problems. From loose connections to damaged wires, a comprehensive understanding of the wiring diagram streamlines the troubleshooting process.

Maintenance Image

Maintenance

Securing a purrfectly wired engine involves meticulous maintenance. The wiring diagram guides technicians in implementing preventive measures, ensuring the longevity of the electrical system. Regular inspections, adherence to proper wiring practices, and addressing potential issues proactively contribute to a reliable and enduring engine performance.

As we conclude this exploration into the intricacies of the 3208 Cat Engine Wiring Diagram, it becomes evident that this blueprint is not merely a collection of lines and symbols. It is a roadmap, guiding technicians through the electrical landscape of a powerful engine. Mastery of the diagram empowers professionals to ensure optimal performance, diagnose issues accurately, and maintain the reliability of these impressive machines.

(Image sources: All images retrieved from Bing Image Search)

PointofViews:3208 CAT ENGINE WIRING DIAGRAM

  • Wiring diagrams, like the 3208 Cat Engine Wiring Diagram, are the unsung maestros orchestrating the silent symphony of machinery. Within their intricate lines and symbols lies a language that speaks volumes about the electrical soul of powerful engines. These diagrams, akin to blueprints of a technological universe, guide technicians through a mesmerizing journey of connections and currents.
  • cssCopy code
  • As one delves into the wire web, it's a discovery of paths and junctions that echo the heartbeat of an engine. Every line represents a thread in the intricate tapestry of a mechanical opera, where precision is the conductor and reliability is the melody.
  • Decoding symbols becomes an art, akin to translating an ancient manuscript. The symbols, like hieroglyphics of the engineering world, convey a story of electrical components seamlessly working in harmony. Mastery of these symbols opens a portal to understanding the inner workings of the machine.
  • Current flow within the wiring diagram is the dance of electrons, choreographed with precision. Following the current's journey is like tracing the steps of a graceful dancer, ensuring that every component receives its share of energy for a flawless performance.
  • Connection points in the diagram maze are the meeting places of electrical destinies. Each point signifies a juncture where components shake hands, and the success of this handshake determines the engine's efficiency and reliability.
  • Essential components showcased in the wiring diagram are the stars of this technological theatre. From sensors playing the role of vigilant guardians to ignition systems igniting the engine's passion, each component has a crucial part to play in the grand performance.
  • Electrical resistance, though shockingly simple, is the subtle antagonist in this narrative. Understanding this resistance is the key to maintaining the smooth flow of energy, preventing disruptions in the performance.
  • Troubleshooting wiring issues is the detective work of the engineering world. The wiring diagram serves as the magnifying glass, guiding technicians through the labyrinth of wires to unveil the mysteries behind malfunctions.
  • And in the realm of maintenance, the wiring diagram is the wise mentor. It imparts knowledge on the rituals of inspections, preventive measures, and the adherence to best practices, ensuring the longevity of the electrical system.
  • In essence, the 3208 Cat Engine Wiring Diagram is not a mere schematic; it's a narrative. A story told in symbols and lines, conveying the saga of an engine's electrical prowess. It's an ode to precision, a symphony of connections, and a roadmap to reliability in the realm of machinery.

Conclusion:

As we conclude this enlightening journey through the intricacies of the 3208 Cat Engine Wiring Diagram, we trust that the knowledge imparted has provided you with a comprehensive understanding of the electrical blueprint that powers these robust engines. Armed with insights into the wire web and the current flow within the diagram, you are now equipped to navigate the intricate maze of connections that ensure the optimal performance of your 3208 Cat Engine.

Whether you are a seasoned technician or an enthusiast eager to unravel the mysteries of machinery, the 3208 Cat Engine Wiring Diagram stands as a testament to the meticulous engineering behind these powerful engines. We hope this exploration has served as a valuable resource, empowering you to decipher symbols, troubleshoot issues, and conduct effective maintenance. Remember, within the lines and symbols of the wiring diagram lies the roadmap to a purrfectly wired engine, ensuring the reliability and longevity of your mechanical marvel.

QuestionsandAnswerfor3208 CAT ENGINE WIRING DIAGRAM

Q: How can I access the 3208 Cat Engine Wiring Diagram?

  • A: Accessing the 3208 Cat Engine Wiring Diagram is often facilitated through the engine's official technical documentation provided by Caterpillar. This comprehensive manual, available online or from authorized dealers, offers detailed schematics and explanations of the engine's electrical system.

Q: Are there online resources for troubleshooting wiring issues in the 3208 Cat Engine?

  • A: Yes, several online platforms and forums dedicated to heavy machinery maintenance provide valuable insights into troubleshooting wiring issues in the 3208 Cat Engine. Engaging with these communities allows users to share experiences, learn from others, and access expert advice on resolving specific wiring challenges.

Q: Can I find video tutorials on interpreting the 3208 Cat Engine Wiring Diagram?

  • A: Absolutely. Online video platforms often host tutorials that visually guide users through the process of interpreting the wire web within the 3208 Cat Engine Wiring Diagram. These tutorials can be invaluable for those who prefer a more hands-on and visual approach to understanding the electrical system.

Q: Are there common issues addressed in the 3208 Cat Engine Wiring Diagram?

  • A: Yes, the 3208 Cat Engine Wiring Diagram is a crucial tool for identifying and addressing common issues. These may include issues with current flow, electrical resistance, and connection points. Regular reference to the wiring diagram aids in diagnosing problems efficiently and ensuring the proper functioning of the engine.

Keyword:3208 CAT ENGINE WIRING DIAGRAM

Related Keywords:Maintenance, Troubleshooting, Wiring Diagram, Electrical System, Connection Points, 3208 Cat Engine, Current Flow

No comments:

Post a Comment